福建安华-公开招标-[350200]AHG[GK]2020004集美大学信息学院融合通信综合实训平台结果公告(包1)
采购项目编号/包号: |
[350200]AHG[GK]2020004 |
采购人名称、地址和联系方式: |
采购单位名称:集美大学 采购单位地址:厦门市集美区银江路185号 项目负责人:黄老师 联系电话: 0592-6183297 |
采购代理机构名称、地址和联系方式: |
代理机构名称:福建安华发展有限公司 地址:漳州市龙文区福建省漳州市龙文区迎宾大道226号鸿达嘉园503、505、506室 评审部经办人:潘连裕-厦门 联系电话:15396271907 |
采购项目名称: |
集美大学信息学院融合通信综合实训平台 |
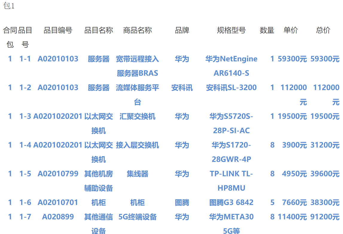
项目主要内容(用途、数量、简要技术要求、招标项目性质): |


|
采购方式: |
公开招标 |
定标日期(确定成交日期): |
2020-06-17 |
本项目信息公告日期: |
2020-05-27 |
中标、成交供应商名称、地址: |
中标供应商名称 安科讯(福建)科技有限公司 中标供应商地址 福建省福州市鼓楼区软件大道89号福州软件园C区28号楼 |
中标、成交项目主要内容(含品牌、规格型号、制造商、数量、主要配置、技术要求等): |
  
|
中标、成交金额(万元): |
1581700.00元 |
评标委员会(谈判小组、询价小组)成员名单: |
殷彦彬,叶卓映,曾惠娥,许宏岗 |
采购项目联系人姓名和电话: |
项目联系人:吴小姐 联系电话:15396271907 |
此项目委托福建安华发展有限公司招标并在相关网站上公告。
集美大学资产与设备管理处
2020年6月18日